This basic Schmitt trigger was found in an American publication from 1968. The circuit uses transistors from the time. Modern general-purpose types can be used.
The power supply for this 1972 circuit must be symmetrical and the BC549 transistors. Care with...
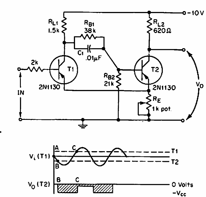
This circuit was found in an American publication from the 1980s. The circuit generates pulses from...
This circuit allows the division of the frequency generated by an oscillator with the 4069 by two,...