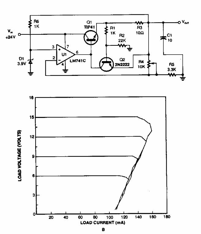
The name of this circuit comes from the appearance of its characteristic curve shown next to the diagram. The circuit was found in a Popular Electronics from the 90s.
This circuit for the 1750 m band was published in the September 1989 Radio Electronics magazine. The...
The purpose of this circuit is to disconnect the battery in case of an excessive charge current,...
This circuit was originally designed to operate with the alarm CIR12065 which has a tone output. It...