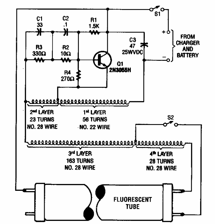
This circuit, with a 12 V input, was found in a Popular Electronics from the 1990s. Information is given about the ferrite-wrapped transformer. The transistor must be mounted on a heatsink.
This is the battery-powered version of the previous circuit. The circuit is from the same Radio...
This is the modern version of the Galena radio in which the detector is a germanium diode (which can...
This circuit triggers a remote doorbell when the phone rings. The circuit is for the 110 V mains...