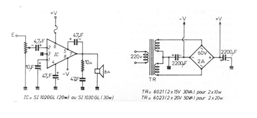
This amplifier uses Sanken hybrid modules that can still be found in some suppliers, as they are also used in automation and control circuits. It can provide powers of 20 or 30 W, depending on the module used and the power supply. The circuit requires a well-planned board and a good dissipation area for the hybrid module. The sound quality obtained is excellent as the module was used in several commercial products of the time (70s and 80s).




