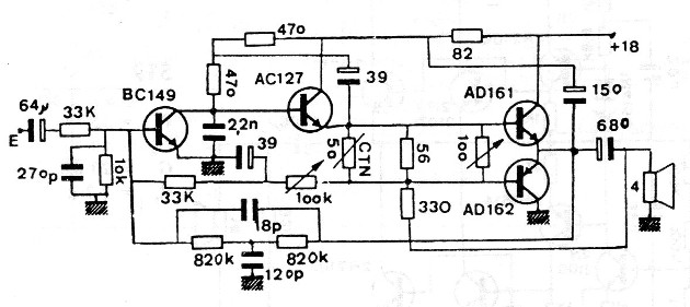
This good amplifier with output in complementary symmetry is from an old publication, and modern equivalent transistors can be used. In the output can be used the pair BD135 and 136 or even TIP31 and TIP32. The gain is 20 dB and the input resistance is 50 k ohms. With modern transistors it may be necessary to change some resistors.




