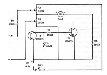
The transistors of this circuit found in an old documentation from the 70s can be the BC558. What the circuit does is increase the sensitivity of the instrument, to operate at very low voltages. The instrument can be replaced with the corresponding scale of a common analog multimeter. Power is supplied with 3 small batteries and very low consumption. The two trimpots adjust the operating point and may have current standard values closer to those indicated.




