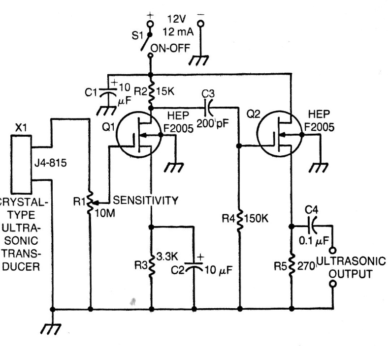
The MOS field effect transistors of this circuit are not very common, as it is a project from the 70s, obtained in a documentation of the time. However, the circuit can be adapted to use modern transistors. The pickup is a piezoelectric or ceramic crystal cut to operate in the ultrasound range. The circuit has low consumption, and its output is of good intensity and can be used in several types of applications.




