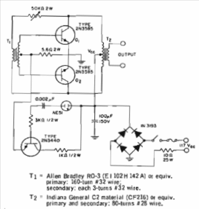
This circuit is a manual of 1972 RCA power transistors. The critical components of the project are transformers. More modern equivalent transistors can be used, and the input voltage can be changed according to the application. Transistors must be equipped with good heat radiators.




